Octrooirecht  

IEF 15239

Voortbrengselconclusies HE Licenties naar voorlopig oordeel niet nieuw

Vzr. Rechtbank Den Haag 10 september 2015, IEF 15239 (HE Licenties tegen VG Colours)
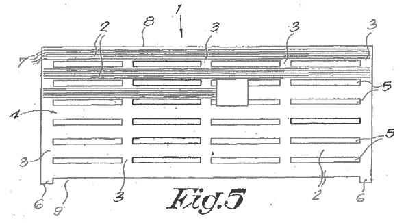
Uitspraak ingezonden door Tjeerd Overdijk en Peter Ras, Vondst Advocaten. Octrooirecht. Voortbrengselconclusies naar voorlopig oordeel niet nieuw. Geen inbreuk op werkwijzeconclusies. HE Licenties is licentienemer van Hanson Uitgevers B.V. voor diens octrooi met nummer NL 1040904  met betrekking tot een 'substance introduction method for plant and plant obtained therewith'. Naar voorlopig oordeel van de voorzieningenrechter zijn de voortbrengselconclusies niet nieuw. Ook is er geen sprake van inbreuk op de werkwijzeconclusies van het octrooi van Hanson.

Geldigheid voortbrengselconclusies 11-15
CA 325
5.1. De ingeroepen voortbrengselconclusies 11 en verder van het octrooi zijn naar voorlopig oordeel niet nieuw. In de eerste plaats heeft VG Colours terecht gewezen op CA 325, met name figuur 5b. CA 325 heeft betrekking op planten/bomen en het daarin aanbrengen of mee verbinden van asresten van een overledene. Hiertoe wordt eerst een cilindrische boring aangebracht in de stam, getuige figuur 5a, waarlangs de capsule in de boom wordt ingebracht. Vervolgens groeit het gat dicht rond link 42 die naar buiten loopt en aangeraakt kan worden om contact te kunnen maken met de asresten (figuur 5b en paragraaf 0017).

5.2. HE Licenties stelt dat er wel sprake is van nieuwheid omdat in CA 325 eerst een cilindrisch gat wordt geboord en derhalve het gat op dat moment in de langsrichting niet groter is dan de opening. Dat verweer moet worden verworpen. Reeds in CA 325 is het dichtgroeien van de opening gesignaleerd zodat duidelijk is dat misschien dan niet bij het inbrengen van de capsule sprake is van een kleinere opening, doch wel in de loop van de tijd daarna. Ook de examiner van het EOB was kennelijk deze mening toegedaan. (…)

US 215 en US 773
5.5. Ten aanzien van deze publicaties heeft HE Licenties op zichzelf niet bestreden dat de maatregelen van conclusie 11 daarin zijn terug te vinden maar zich erop beroepen dat de daarin opgenomen figuren niet nawerkbare uitvoeringen zijn. De voorzieningenrechter overweegt dat het in een dergelijk geval aan de octrooihouder is om deze stelling in kort geding aannemelijk te maken. Daarin is HE Licenties niet geslaagd. Enig deskundig bewijs van niet-nawerkbaarheid ontbreekt. Dat het mogelijk lastig zou zijn om de injectienaald tot een specifieke laag in de stam van de boom te steken, betekent nog niet dat een gemiddelde vakman dat niet zal kunnen na lezing van de beschrijving. Daarbij komt dat niet ondenkbaar is dat de ene laag (bijvoorbeeld de bast of de schors) van de boom aanmerkelijk zachter is dan de daaronder liggende laag, waardoor het proces gemakkelijker zal zijn uit te voeren. Simpel gezegd: je steekt de naald erin tot je op iets hards stuit. Voor nader technisch onderzoek is op dit punt in kort geding geen plaats.

Subconclusie
5.6. Gelet op niet alleen CA 325 maar ook US 215 en US 773 bestaat een gerede kans dat conclusie 11 een daartoe strekkende nietigheidsprocedure niet zal overleven. Tegenover de onderbouwde stelling van VG Colours dat ook de (ingeroepen) volgconclusies ongeldig zijn gelet op de stand van de techniek, heeft HE Licenties slechts gewezen op de geldigheid van conclusie 11, zodat die conclusies het lot daarvan moeten delen. De vorderingen op basis van de ingeroepen voortbrengselconclusies moeten derhalve worden afgewezen. (…)

Inbreuk werkwijzeconclusies 1 en verder
5.7. Naar voorlopig oordeel is onvoldoende aannemelijk dat sprake is van inbreuk op werkwijzeconclusie 1 van NL 904 noch de daarvan afhankelijke ingeroepen conclusies. Terecht heeft VG Colours erop gewezen dat bij een werkwijze conclusie als deze, gelezen in samenhang met de beschrijving en tekeningen, het definitieve gat in de stam van de plant logischerwijs door menselijk ingrijpen gevormd wordt met een grotere dimensie in de langsrichting van de stam dan de opening (vgl. dagvaarding p. 11, 3e alinea). De 'grap' van het octrooi is dat door de opening relatief klein te houden deze gemakkelijk te dichten is en er minder verzwakking van de stam van de plant plaatsvindt, terwijl tegelijkertijd het gat achter de opening in de langsrichting van de stam groot is om opname van de (kleur)vloeistof te vergemakkelijken en versnellen doordat meer weefsel van de plant daaraan wordt blootgesteld (p. 3, r. 30-p. 4, r. 10 octrooi). (…)

5.8. Tegenover de gemotiveerde betwisting door VG Colours dat er weliswaar kennelijk sprake is van een vergroot definitief gat in de langsrichting maar zij daartoe geen enkele maatregel treft, heeft HE Licenties onvoldoende aannemelijk gemaakt dat dit anders zou zijn. HE Licenties leidt de toepassing van een dergelijke maatregel af uit de omstandigheid dat uit een rapport van Naktuinbouw blijkt dat het definitieve gat in de orchideeën van VG Colours een grotere dimensie in de langsrichting heeft dan de opening (prod. 7 HE). Wat HE Licenties hier in wezen doet is het bewijsvermoeden van artikel 70 lid 8 ROW toepassen: uit het voortbrengsel leidt zij af dat de werkwijze van het octrooi wordt toegepast. Daarvoor geldt naar voorlopig oordeel echter dat eerst moet vast staan dat sprake is van een nieuw voortbrengsel. Voorshands is van een nieuw voortbrengsel evenwel geen sprake. VG Colours heeft gemotiveerd en gedocumenteerd aangevoerd dat zij sinds 2011 (derhalve ruim voor de prioriteitsdatum van het octrooi) niets anders doet, namelijk met eerst een cilindrische en nadien conische boor een gat boren in de steel van de phalaenopsis, dit gat vullen met kleurvloeistof en vervolgens afdichten met wax. Ook in NL 581 stond deze werkwijze al beschreven. De verklaring van VG Colours dat het gat nadien kennelijk bij de huidige planten - maar ook al in 2011 - groter wordt valt voorshands niet als onwaarschijnlijk ter zijde te stellen. VG Colours heeft namelijk aangevoerd dat het mogelijk te wijten is aan een verschil in osmotische waarde van de vrij welke plantencellen in het merg van de stengel tegenover een hoge osmotische waarde in de kleurstof waardoor de cellen om de kleurstof heen "uitdrogen" en het gat vergroot door in wezen een natuurlijk (en overigens onbedoeld) proces. De stelling ter zitting van HE Licenties dat VG Colours wellicht in de loop der jaren haar receptuur van de kleurstof heeft aangepast, waardoor er thans sprake zou zijn van chemisch etsen in de zin van het octrooi, mist iedere feitelijke basis. Daarbij komt dat dhr. De Koning (prod. 24 VG Colours), medewerker van VG Colours, heeft verklaard (hetgeen hij ter zitting heeft bevestigd) dat er geen etsend middel of anderszins in de loop der jaren is toegevoegd of dat het recept van de kleurvloeistof zou zijn aangepast. HE Licenties heeft terecht niet gesteld dat er dan al vanaf 2011 een etsend middel in de zin van het octrooi in de door VG Colours toegepaste kleurstof zal hebben gezeten, omdat dit de geldigheid van haar octrooi zou aantasten. (…)

5.10. De gevraagde voorzieningen in conventie moeten worden geweigerd en HE Licenties dient als de in het ongelijk gestelde partij in de proceskosten te worden veroordeeld. De door VG Colours opgevoerde proceskosten in conventie volgens 1019h Rv groot (€ 98.565,90 -€ 612 =) € 97.953,90 zijn niet bestreden. (…)”
IEF 15233

VDV moet bewijzen dat Swaans de groeven heeft aangebracht in betonplaat

Rechtbank Den Haag 9 september 2015, IEF 15233 (VDV tegen Swaans)
Uitspraak ingezonden door Eliëtte Vaal en Peter Claassen, AKD. Octrooirecht. Tussenvonnis. Rechtbank oordeelt dat hetgeen Swaans heeft aangevoerd niet leidt tot vernietiging van het octrooi EP1563728 voor een 'method for the realisation of concrete grids for stable floors for cattle and the like'. Van uitbreiding van materie is namelijk geen sprake. Evenmin is na verlening de beschermingsomvang uitgebreid nu de authentieke conclusies na verlening van het octrooi niet zijn gewijzigd. Inbreuk door Swaans is aangenomen, maar de omvang van de inbreuk moet nog worden bewezen door VDV.

4. De beoordeling
In reconventie
4.18. (...) VDV c.s. heeft er echter terecht op gewezen dat de vraag of sprake is van bedoelde nietigheidsgronden, gelet op artikel 70 lid 3 EOV en 52 lid 9 ROW, dient te worden beoordeeld aan de hand van de authentieke Engelse tekst van het octrooi. Swaans c.s. heeft overigens ook zelf het standpunt ingenomen dat de Engelstalige versie van EP728 overeenkomstig artikel 70 EOV als authentiek geldt. Gelet hierop kan Swaans c.s. al daarom niet in haar standpunt worden gevolgd. De Engelstalige tekst van het octrooischrift heeft ten aanzien van de term 'curing' in de verleningsprocedure immers geen wijzigingen ondergaan. De rechtbank verwijst voorts naar wat zij in r.o. 4.4. t/m 4.6. heeft overwogen. Van uitbreiding van materie is dus geen sprake. Evenmin is na verlening de beschermingsomvang uitgebreid nu de authentieke conclusies na verlening van het octrooi niet zijn gewijzigd.
4.19. Uit het voorgaande volgt dat hetgeen Swaans heeft aangevoerd niet leidt tot vernietiging van het octrooi. Aan het hulpverzoek van VDV c.s. is de voorwaarde gesteld dat de rechtbank oordeelt dat conclusie 1 als verleend nietig is. Aan dit hulpverzoek wordt daarom niet toegekomen. De tot nietigheid van het Nederlandse deel van EP728 strekkende vordering in reconventie ligt dus voor afwijzing gereed. Omdat vanwege de navolgende beoordeling in conventie een tussenvonnis wordt gewezen, houdt de rechtbank de beslissing over het gevorderde in reconventie (inclusief de beslissing over de proceskosten) aan.

In conventie
4.31. Bij deze stand van zaken zal de rechtbank VDV c.s. overeenkomstig haar in de dagvaarding gedane bewijsaanbod toelaten te bewijzen dat de van Swaans Trilbeton afkomstige betonnen roosters aangetroffen bij Maes te Lommel, België en beschreven door deskundige D'Hallewyn, door Swaans Trilbeton in Nederland van groeven zijn voorzien, voorafgaand aan de levering van de roosters aan aannemer Van de Sande. 
IEF 15228

Vereiste temperatuurverschil tussen omgeving en blad deels niet nieuw of inventief

Advies Octrooicentrum NL 10 juli 2015, IEF 15228 (Wilk van der Sande tegen Plantlab inzake octrooi NL2002091)
Octrooirecht. Plantlab is rechthebbende van NL2002091 voor een "Systeem en werkwijze voor het telen van een gewas in een althans ten dele geconditioneerde omgeving". Wilk van der Sande verzoekt om een advies ex 84 Row 1995 en betwist de geldigheid van het octrooi en het hulpverzoek wegens gebrek aan nawerkbaarheid en ontbreken van nieuwheid en inventiviteit. Er zijn geen nawerkbaarheidsbezwaren ten aanzien van het octrooi en het hulpverzoek. Bij een letterlijke benadering van vereiste temperatuurverschil tussen omgeving en blad zijn bepaalde conclusies niet nieuw en bij doelgerichte benadering zijn bepaalde conclusies niet nieuw en andere niet inventief.

5.2 Nieuwheid en inventiviteit
)(...)Het verschil tussen de benaderingen komt voort uit een verschillende uitleg van de grootte van het in de conclusies vereiste
temperatuurverschil tussen blad en omgeving:
· De eerste uitleg is een letterlijke benadering en gaat ervan uit dat, nu de conclusies en de beschrijving geen uitsluitsel geven over de vereiste grootte van het temperatuurverschil, ieder temperatuurverschil tussen blad en omgeving, hoe klein ook, voldoet.
· De tweede uitleg is een doelgerichte benadering en gaat uit van de aanname dat de vakman die het octrooi leest, begrijpt dat het temperatuurverschil een significant verschil moet zijn om het beoogde effect op het telen van een gewas te bereiken.(...)

5.2.1.2. Inventiviteit van het octrooi
Vooruitlopend op de beoordeling van de inventiviteit van het octrooi op basis van de doelgerichte benadering waarin een significant temperatuurverschil tussen blad en omgeving wordt vereist, waaruit zal blijken dat de conclusies 1 t/m 7 en 9 t/m 10 niet inventief zijn, wordt de beoordeling van de inventiviteit van het octrooi op basis van de letterlijke benadering waarin ieder temperatuurverschil voldoet hier weggelaten.

6. Het advies van Octrooicentrum Nederland
Het advies van Octrooicentrum Nederland luidt op grond van vorenstaande:
- dat de aangevoerde nawerkbaarheidsbezwaren ten aanzien van het octrooi en het hulpverzoek geen doel treffen;
- dat bij een letterlijke benadering van het in de conclusies vereiste temperatuurverschil tussen omgeving en blad:
   · de conclusies 1, 4, 6, 8, 11 en 12 van het octrooi niet nieuw zijn;
   · de conclusies 1 en 4 van het hulpverzoek niet nieuw zijn;
- dat bij een doelgerichte benadering van het in de conclusies vereiste temperatuurverschil tussen omgeving en blad:
   · de conclusie 8, 11 en 12 van het octrooi niet nieuw zijn;
   · de conclusies 1-7, 9 en 10 van het octrooi niet inventief zijn;
   · de conclusies 1-8 van het hulpverzoek niet inventief zijn;
- dat de aangevoerde bezwaren ten aanzien van toegevoegde materie in het hulpverzoek geen doel treffen.
IEF 15221

Licentievergoeding dient te worden voldaan door Danone ondanks niet gebruik website

Hof Amsterdam 1 april 2014, IEF 15221; ECLI:NL:GHAMS:2014:1098 (Danone Baby and Medical Nutrition tegen Globalocity)
Civiel recht. Website. Licentievergoeding. Danone is bij dagvaarding van 21 juni 2012 in hoger beroep gekomen van de onder bovenvermeld zaak-/rolnummer uitgesproken vonnissen van 8 juni 2011 (hierna ook: het tussenvonnis) en 20 juni 2012 (het eindvonnis) van de rechtbank Amsterdam, sector civiel recht, in deze zaak gewezen tussen Globalocity als eiseres en Danone als gedaagde. Het Hof vernietigt het eindvonnis van de rechtbank. In deze zaak gaat het over overeenkomsten over ontwerp en ontwikkeling van internet en website, onderhoud, beheer, support en licentierechten. De leverancier vordert 1,8 miljoen, de rechtbank wijst 1,3 miljoen toe en het Hof een half miljoen. Er is een cassatieberoep ingesteld.

3.2. (...) De rechtbank heeft naar het oordeel van het hof Danone terecht met het bewijs van deze door haar gestelde nadere overeenkomst belast. Met de rechtbank is het hof voorts van oordeel dat Danone er niet in is geslaagd te bewijzen dat Globalocity met die verlaging van de licentievergoeding voor het verleden en het afzien van een licentievergoeding voor de toekomst heeft ingestemd zonder dat tevens voldaan zou zijn aan de eis dat haar positie als ‘global preferred supplier’ voor Danone zou zijn vastgelegd door middel van ondertekening door beide partijen van het zogenoemde raamcontract waarover partijen in de maanden daarvoor hadden onderhandeld.

3.5. Het tweede geschilpunt tussen partijen betreft het verweer van Danone dat Globalocity haar recht om een licentievergoeding, voor zover deze nog niet was betaald, in rekening te brengen, heeft verwerkt. De rechtbank heeft het beroep van Danone op rechtsverwerking in het tussenvonnis verworpen met de overweging dat enkel tijdsverloop voor het aannemen daarvan onvoldoende grond oplevert en dat Danone onvoldoende feiten en omstandigheden heeft gesteld waaruit zou kunnen blijken dat ofwel bij haar het gerechtvaardigd vertrouwen is ontstaan dat Globalocity geen nakoming meer zou vorderen ofwel zij door het alsnog geldend maken van de vordering door Globalocity onredelijk in haar positie is benadeeld of verzwaard.

3.6. Het hof verenigt zich ook hier met het oordeel van de rechtbank.

3.13. Het hof is van oordeel dat het gegeven dat in de Overeenkomst 2002 is bepaald dat Numico aan Globalocity ter zake van “licentie” jaarlijks 5% van “de cumulatieve ontwikkelingskosten” van “software ontwikkelingen” betaalt, onvoldoende is om te concluderen dat partijen op het punt van de omvang van de licentievergoeding een van de Overeenkomst 2000 afwijkende afspraak hebben gemaakt. (...) Het hof verwerpt dan ook de stelling van Globalocity dat Numico zich met de Overeenkomst 2002 (in aanvulling op de Overeenkomst 2000) verplicht zou hebben tot betaling van een licentievergoeding voor websites die al vóór 1 mei 2000 gemaakt waren of zelfs waarop de Overeenkomst 2000 uitdrukkelijk niet van toepassing is verklaard. (...) Nu Globalocity geen bewijs heeft aangeboden van voldoende geconcretiseerde feiten en/of omstandigheden die steun zouden kunnen bieden aan de door haar in deze procedure gepropageerde uitleg van de overeenkomsten van 2000 en 2002 voor zover het de licentiekosten betreft, gaat het hof aan die uitleg als onvoldoende gesubstantieerd voorbij.

3.16. Voor zover Danone naast haar primaire verweer, dat alleen de facturen waarmee de in bijlage 2 bij de Overeenkomst 2000 genoemde bedragen in rekening zijn gebracht uit het ontwikkelcontract voortvloeien, het verweer heeft willen handhaven dat het te betalen bedrag aan licentievergoeding nog dient te worden gecorrigeerd in verband met het feit dat websites na verloop van tijd niet meer werden gebruikt of zijn gewijzigd, verwerpt het hof dat verweer. Voor een dergelijke correctie is geen grondslag te vinden in de Overeenkomst 2000 of de Overeenkomst 2002. Er kunnen meerdere redenen zijn geweest waarom partijen ervan hebben afgezien de verschuldigdheid van de licentievergoeding te laten afhangen van het gebruik van de vervaardigde software. Dat het naar maatstaven van redelijkheid en billijkheid onaanvaardbaar is een licentievergoeding in rekening te brengen voor websites die niet meer in gebruik zijn, kan in algemene zin in elk geval niet worden onderschreven. Grief XIII in het principale beroep wordt ongegrond bevonden.
IEF 15211

Waarderen van intellectuele eigendomsrechten

Bijdrage van Flip van Spaendonck*, Van Spaendonck & Partners BV
Alle vraagstukken die het waarderen van bedrijven en ondernemingen zo lastig kunnen maken doen zich extra hardnekkig voor bij het waarderen van intellectuele eigendomsrechten. De verleiding van pseudo-benaderingen is dan ook sterk. Toch zou juist bij die waarderingen het gehele instrumentarium van de valuator benut moeten worden, om zo tot een degelijke en doordachte waarde te komen.

Waarde
Een intellectueel eigendomsrecht heeft, net als een onderneming of een materiële zaak, waarde als verwacht wordt dat het de rechthebbende in de toekomst aanspraak biedt op opbrengsten. Voor de waardering is van belang dat de opbrengsten daadwerkelijk ter beschikking staan van de rechthebbende. Omdat de rechthebbende niet stante pede maar in de toekomst verwacht te kunnen beschikken over de geldstromen zal rekening moeten worden gehouden met de tijdswaarde van geld. De geldstromen zullen contant gemaakt moeten worden, rekening houdend met de risico’s die de rechthebbende loopt zolang nog niet over de opbrengsten beschikt kan worden. Als aldus de verwachte geldstromen bepaald en contant gemaakt zijn is de waarde van het recht bepaald**. Bij het waarderen van intellectuele eigendomsrechten worden nog al eens andere wegen bewandeld, die echter niet altijd zullen resulteren in een verdedigbare waarde. Navolgend passeren de belangrijkste methodes de revue, voorafgegaan door een korte inleiding over het begrip intellectuele eigendom.

* Drs. Ph.M. (Flip) van Spaendonck RV is werkzaam als waarderingsdeskundige voor Van Spaendonck & Partners BV. Hij is als Register Valuator geregistreerd door het SWBO en als gerechtelijk deskundige door het LRGD. Zie: www.van-spaendonck.com. De auteur dankt ir. H.Th. van den Heuvel van Patentwerk BV en mr. E.J. Louwers van Louwers IP|Technology Advocaten voor hun waardevolle bemerkingen en suggesties bij het tot stand komen van dit artikel.
** Volledigheidshalve wordt opgemerkt dat bij de waardering van de aandelen in een vennootschap volgens de gebruikelijke ‘tweestapsmethode’ vervolgens de schulden op de waarde in mindering worden gebracht en de waarde van de ‘zelfstandige vruchtdragers’ daarbij worden opgeteld om aldus tot de waarde van de aandelen te komen. Omwille van de eenvoud wordt uitgegaan van een bedrijf, zaak of recht waaraan geen schulden of zelfstandige vruchtdragers zijn verbonden.

Lees hier de hele bijdrage: link

IEF 15199

Vordering van Hymmen tot opeising Teijin's octrooi wordt afgewezen

Rechtbank Den Haag 26 augustus 2015, IEF 15199 (Hymmen Industrieanlagen tegen Teijin Aramid)
Uitspraak ingezonden door Rien Broekstra, Ruprecht Hermans en Richard Ebbink, Brinkhof. Octrooirecht. Hymmen eist het Nederlandse deel van Teijin's octrooi EP2307180B1 op en de corresponderende buitenlandse delen en internationale aanvragen. De rechtbank wijst de vorderingen van Hymmen af, omdat niet is gebleken van ontlening door Teijin. Artikel 60 EOV geeft Hymmen ook geen aanspraak op de andere conclusies van het Nederlandse deel van EP 180. Aangezien de vorderingen ten aanzien van het Nederlandse deel van EP 180 zullen worden afgewezen, zal de rechtbank de vorderingen ook afwijzen voor zover die zien op de niet-Nederlandse delen van EP 180 en de internationale aanvragen.

4. De beoordeling.
4.21. De slotsom van het voorgaande is dat artikel 60 EOV Hymmen ook geen aanspraak geeft op de andere conclusies van het Nederlandse deel van EP 180.
4.23. De kenmerken in de hiervoor besproken onderconclusies van het octrooi zijn volgens Hymmen zelf algemeen bekend, bekend uit het Hymmen-boek, gebaseerd op 'good engineering practice'of arbitrair. Daarom kan daarvan niet gezegd worden dat de onderliggende informatie van die conclusies of de aan die conclusies ten grondslag liggende documenten vertrouwelijk zijn of gedurende de samenwerking tussen partijen bekend en beschikbaar zijn gemaakt door een van de partijen, zoals (punt 4. van) de samenwerkingsovereenkomst voor het voorbehouden zijn van het aanvragen van octrooi aan een van de partijen vereist.
4.24. Nu de vorderingen ten aanzien van het Nederlandse deel van EP180 zullen worden afgewezen, zal de rechtbank ook de vorderingen afwijzen voor zover die zien op de niet-Nederlandse delen van EP180 en de internationale aanvragen. 
IEF 15188

Panasonic had licentie voor IQonn Software

Rechtbank Den Haag 15 juli 2015, IEF 15188 (World Wide Technical Services tegen Panasonic)
Auteursrecht. Octrooirecht. Software. WWTS voert aan dat Panasonic auteursrechtinbreuk heeft gemaakt op de IQonn Software, versie 4, door openbaarmaking en verveelvoudiging van 7121 exemplaren. Daarnaast eist WWTS staking van o.a. de verkoop en levering van exemplaren van de als Toughbooks aangeduide typen computerapparatuur. Panasonic brengt met succes er tegen in dat zij een licentie hadden voor de IQonn Software die meegeleverd zat bij de Toughbooks. Ook het octrooi (dat ziet op het updaten van "data") is voor nietig te houden volgens de rechtbank, zodat de daarop gebaseerde vorderingen afgewezen moeten worden.

In conventie:
3.1. WWTS vordert in conventie - samengevat- dat de rechtbank bij vonnis, uitvoerbaar bij voorraad,

Ten aanzien van het auteursrecht:
- voor recht verklaart dat met de openbaarmaking en verveelvoudiging van 7.121 exemplaren van de IQonn Software, versie 4, gedaagden ieder voor zich en/of afzonderlijk inbreuk hebben gemaakt op de bij WWTS berustende auteursrechten met betrekking tot de IQonn software, versie 4,
- gedaagden hoofdelijk veroordeelt tot afdracht van de met de inbreuk genoten winst aan WWTS, dan wel voldoening aan haar van de schade ter zake van deze inbreuk op auteursrechten tot een bedrag ad 534.074 euro te vermeerderen met de wettelijke handelsrente, althans gedaagden hoofdelijk veroordeelt tot voldoening van de schade aan de zijde van WWTS ter zake van deze inbreuk op auteursrechten, welk bedrag der zake is op te maken bij staat en te vereffenen volgens de wet,

Ten aanzien van het octrooi:
- voor recht verklaart dat gedaagden gezamenlijk en/of ieder afzonderlijk met de productie, het aanbieden, het in voorraad hebben, de verkoop en de levering van exemplaren van de als Toughbooks aangeduide typen computerapparatuur inbreuk hebben gemaakt en maken op EP 882,
- gedaagden, gezamenlijk en/of ieder afzonderlijk, gelast de productie, het aanbieden, het in voorraad hebben, de verkoop en de levering van exemplaren van de als Toughbooks aangeduide typen computerapparatuur, in Nederland te staken en gestaakt te houden, op straffe van een dwangsom,
- gedaagden hoofdelijk veroordeelt tot vergoeding van de schade, die te rekenen vanaf de datum van octrooiverlening is veroorzaakt door de op EP 882 inbreuk makende handelingen, en tot afdracht van de winst die door gedaagden gezamenlijk en/of ieder afzonderlijk is behaald met de productie, het aanbieden, de verkoop en de levering van de als Toughbooks aangeduide typen computerapparatuur, in Nederland, zulks op te maken bij staat en te vereffenen volgens de wet,
- gedaagden gelast om opgave, voorzien van een goedkeurende verklaring van een registeraccountant, te doen aan WWTS van het aantal geproduceerde en verkochte, althans in Nederland geleverde typen computerapparatuur, waarin de inbreukmakende connection management methoden werden toegepast, de duur waarbinnen en de tijdstippen waarop deze productie, verkoop en leveringen hebben plaatsgevonden en de productiekosten en de verkoopprijs van geproduceerde, verkochte en geleverde exemplaren van de inbreukmakende typen computerapparatuur, eveneens op straffe van een dwangsom,

Ten aanzien van de proceskosten:
- met veroordeling van Panasonic in de proceskosten overeenkomstig artikel 1019h Rv.

3.2. WWTS stelt daartoe -kort gezegd- dat Panasonic 7.121 Toughbooks heeft voorzien van IQonn Software, versie 4, zonder dat zij daartoe een licentie had van WWTS. Panasonic had slechts een licentie voor versie 3 gekregen. Bij gebruik van de Toughbooks van Panasonic wordt voorts door de daarop geïnstalleerde software de werkwijze van (conclusie 1 van) het octrooi toegepast, zodat sprake is van indirecte inbreuk door Panasonic.

3.3. Panasonic voert hiertegen gemotiveerd verweer, onder meer stellende dat zij wel degelijk versie 4 een licentie had gekregen en betaald. Verder is er volgens haar geen sprake van een octrooi-inbreuk, niet alleen omdat geen sprake is van toepassing van alle maatregelen uit de conclusie maar voorts omdat sprake is van een nietig octrooi, omdat het toegevoegde materie bevat en niet inventief is.

4. De beoordeling
Auteursrecht

4.2. WWTS stelt dat sprake is van inbreuk op haar auteursrechten ter zake de IQonn software. Panasonic bestrijdt dat met de stelling enerzijds dat zij de verspreiding van de software heeft gestaakt en anderzijds dat zij voordien toestemming daartoe had krachtens een licentie van Diginext. De rechtbank overweegt als volgt.
4.3. WWTS heeft onvoldoende onderbouwd gesteld dat Panasonic thans nog de software verspreidt of anderszins software zou hebben verspreid waarvoor zij geen afdracht heeft gedaan van een licentievergoeding aan Diginext dan wel WWTS. De zaak spitst zich dan ook toe op de vraag of de TC V4 die Panasonic bij 7121 Toughbooks heeft meegeleverd, onder de licentie viel of niet. De rechtbank is van oordeel dat dit het geval is, waarbij zij de volgende omstandigheden in aanmerking heeft genomen.
(...)
Octrooirecht
(...)
4.25. Zodoende zou de gemiddelde vakman zonder inventieve denkarbeid komen tot de in conclusie 1 van het octrooi neergelegde maatregelen, ook als deze wordt gelezen in de beperkte zin als door WWTS voorgestaan.

Slotsom en proceskosten
4.26. De slotsom luidt dat conclusie 1 van het octrooi voor nietig is te houden, zodat de daarop gebaseerde vorderingen afgewezen moeten worden. Voorts doet Panasonic wat betreft de auteursrechten terecht een beroep op het bestaan van OEM Licentie, waarmee ook die grondslag van de vorderingen niet kan opgaan. Het in conventie gevorderde moet om die reden worden afgewezen. Gelet op de voorwaarden waaronder de reconventie is ingesteld, komt de rechtbank daaraan niet toe.

IEF 15181

Gebruiksklaar urinekathetersamenstel mogelijk nietig

Vzr. Rechtbank Den Haag 14 augustus 2015, IEF 15181; ECLI:NL:RBDHA:2015:9655 (Coloplast tegen Medical4You)
Uitspraak mede ingezonden door Paul Reeskamp en Marijn van der Wal, Klos Morel Vos & Reeskamp. Europees octrooirecht. Katheters. Coloplast vordert inbreukverbod op EP1145729 voor een Gebruiksklaar urinekathetersamenstel. Er is een serieuze, niet te verwaarlozen kans dat de gewijzigde conclusie in een bodemprocedure of in het (inmiddels ingestelde) beroep tegen de beslissing van de Oppositie Afdeling wordt vernietigd wegens gebrek aan inventiviteit. Dat twee opeenvolgende stappen nodig zijn om tot de geclaimde uitvinding te komen, staat in casu aan het verwerpen van uitvinderswerkzaamheid niet in de weg. De vorderingen worden afgewezen.

4.14. Naar voorlopig oordeel bestaat er een serieuze, niet te verwaarlozen kans dat conclusie 1 van EP 729 zoals gewijzigd in stand gehouden, in een bodemprocedure of in het (inmiddels ingestelde) beroep tegen de beslissing van de Oppositie Afdeling wordt vernietigd wegens gebrek aan inventiviteit. De voorzieningenrechter wijkt hiermee af van het recente oordeel van de Oppositie Afdeling (vgl. 2.4.), waarop hierna wordt ingegaan.

4.28. Dat er twee opeenvolgende stappen nodig zijn om tot de geclaimde uitvinding te komen, staat aan het verwerpen van uitvinderswerkzaamheid niet in de weg. Het is vaste rechtspraak van de Technische kamers van Beroep van het EOB dat het nemen van opeenvolgende niet-inventieve stappen, zoals in casu, evenmin inventiviteit oplevert.6 Bovendien volgt als gezegd na de ene stap (het nat verpakken van de katheter) zonder meer dat maatregelen worden getroffen aan de verpakking om uitdroging te voorkomen (tweede stap).

4.30. Ten slotte heeft Coloplast nog betoogd dat er op de relevante prioriteitsdatum de nodige vooroordelen bestonden ten aanzien van het gedurende langere tijd aan een vloeistof blootstellen van (de coating van) een hydrofiele urinekatheter (vgl. paragraaf 5.47 van haar pleitnota). Hier wijst Medical4You er echter terecht op dat Coloplast dan in het mes valt van de nawerkbaarheidsbezwaren die Medical4You tegen de geldigheid van EP 729 heeft aangedragen, waaronder de stelling dat het octrooi niets leert over het voorzien in een hydrofiele coating die zijn eigenschappen behoudt ook na langdurige blootstelling aan vocht en evenmin over hoe nat verpakte katheters gesteriliseerd moeten worden. Volgens Medical4You zijn die problemen pas opgelost in het zogenaamde ‘sterilisatie’- octrooi (vgl. 2.13.). Met Coloplast wordt aangenomen dat de vakman geen enkele moeite zal hebben met het verkrijgen van een kathetersamenstel volgens gewijzigde conclusie 1 van EP 729 reeds omdat een specifieke coatingstabiliteit niet door die conclusie wordt vereist evenmin als de wijze van sterilisatie. De keerzijde van diezelfde medaille is dan wel dat het octrooi eventuele problemen dienaangaande niet oplost en bijgevolg deze ook geen gewicht in de schaal kunnen leggen voor de contribution to the art van EP 729 en niet bijdragen aan de beweerde inventiviteit van het octrooi.

4.31. De slotsom is dat conclusie 1 van EP 729 zoals gewijzigd in stand gehouden naar voorlopig oordeel nietig is omdat een inventieve stap ontbreekt.

4.29. Coloplast heeft nog aangevoerd dat er verschillende mogelijkheden zijn om de katheter nat te verpakken, zoals het meeleveren van de vloeistof in een afzonderlijk zakje in de verpakking, zodat het niet volgens haar niet voor de hand ligt om een hydrofiele katheter op de in EP 729 geclaimde wijze ‘nat’ te verpakken. Dit verweer wordt voorshands verworpen. Terecht heeft Medical4You erop gewezen dat andere uitvoeringsvarianten alle als een oplossing van het gestelde probleem moeten worden beschouwd. Een willekeurige keuze uit alternatieven verleent geen inventiviteit.
IEF 15136

Schade uit gederfde positieve licentiecontractwaarde vergoed

Rechtbank Den Haag 15 juli 2015, IEF 15136; ECLI:NL:RBDHA:2015:8311 (Inno Nautic tegen Cuckoo)
Schadestaatprocedure. Begroting schade ten gevolge van niet-nakoming verplichting tot op naam van eiser stellen octrooi. Schadepost (a) - de schade bestaande uit gederfde positieve contractwaarde van de licentieovereenkomst - wordt toegewezen. De concept licentie-overeenkomst tussen Inno Nautic en Vetus omschreven de royalties in drie tranches een bedrag van €150.000. De overige schadeposten - kosten herstelprocedures, verlies van de mogelijkheid tot verkrijgen van octrooibescherming in andere landen, schade als gevolg van het faillissement van Inno Nautic en kosten voor de schadebegroting - worden afgewezen.

2.9. Inno Nautic en Vetus hebben vervolgens op 15 maart 2007 een overeenkomst gesloten (met als opschrift "Intentieverklaring", hierna ook LoI genoemd). Onder 1. daarvan wordt gerefereerd aan NL 030 van Inno Nautic en onder 2. en 3. wordt aangegeven dat Vetus voornemens is wereldwijd exclusief licentieneemster te worden voor de nautische markt voor een initiële looptijd van 10 jaar. Volgens 4. diende Vetus de kosten te dragen van fabricage van een aantal certificeerbare prototypes, alsmede opvolgende certificering van de pop-up tank door ECB. In 5. wordt overeengekomen dat Vetus € 60.000,- betaalt à fonds perdu als bijdrage in al gedane ontwikkelingskosten, vóór ondertekening van de overeenkomst te voldoen, hetgeen ook is nagekomen (op 28 februari 2007 (…)). Daarnaast komen partijen in 5. en 7. overeen dat Vetus na verkrijging van CE-certificering op basis van ISO-normering voor de betreffende tank en overdracht van het technische dossier en tevens een productierichtprijs van € 150,- per tank van 150 liter in de offerte voor productie vastgelegd zou zijn, aan haar als voorschot op te betalen licentievergoedingen gehouden is nog eens een forfaitair bedrag van € 150.000,- te voldoen. Vervolgens is nader overeengekomen (…) dat Vetus de helft van dat bedrag in twee gedeelten van € 37.500,- zou voldoen na respectievelijke CE-certificering en overdracht van het technische dossier.

4.15. Met het voorgaande behoeven de overige weren van Cuckoo op dit punt geen beoordeling meer. De rechtbank begroot de schade bestaande uit gederfde positieve contractwaarde van de licentieovereenkomst gelet op het voorgaande op € 150.000,-.

4.28. Het voorgaande leidt ertoe dat Cuckoo zal worden veroordeeld tot betaling aan INH van (€ 150.000,- minus € 37.299,- is) € 112.701,- aan schadevergoeding, vermeerderd met wettelijke rente vanaf 16 mei 2007.