Rechtspraak  

IEF 15631

Vragen aan HvJ EU: Afbeelden van accessoires voor game consoles

Prejudiciële vragen gesteld aan HvJ EU januari 2016, IEF 15631; C-24/16 - C-25/16(Nintendo-afstandsbediening)
Jurisdictie. Modelrecht. Via een website worden afstandsbedieningen voor game console aangeboden met daarbij een afbeelding van een game console waarop modelrechten gelden.

Verzoekster in de gevoegde zaken is in Japan gevestigd; zij verkoopt een spelcomputer ‘Wii’ met toebehoren voor welk product zij houdster is van diverse ingeschreven gemeenschapsmodellen. Zij heeft een stakingsvordering ingesteld tegen verweersters (de in DUI gevestigde BigBen Interactive GmbH en het in FRA gevestigde moederbedrijf BigBen Interactive SA) wegens de verkoop van beweerdelijk inbreukmakende goederen. Het in FRA gevestigde bedrijf produceert onder meer afstandsbedieningen voor de ‘Wii’ en verkoopt deze aan klanten in FRA, BEL en LUX, als ook aan haar DUI dochterbedrijf, dat onder meer via internet klanten bedient in DUI en OOS. Naast de stakingsvordering maakt verzoekster bezwaar tegen reclame op de website van verweersters waarop afbeeldingen worden getoond van producten die overeenstemmen met de gemeenschapsmodellen van verzoekster, tezamen met accessoires van verweersters. FRA BigBen stelt het ontbreken van internationale bevoegdheid van de rechter tot maatregelen die voor de gehele EU gelden.

De verwijzende DUI rechter (Oberlandesgericht Düsseldorf) gaat uit van de in uitspraak C-352/13 van het HvJEU gestelde dat voor toepassing van artikel 6, lid 1 van Vo. 44/2001 er tussen de vorderingen een zo nauwe band bestaat dat een goede rechtsbedeling vraagt om hun gelijktijdige behandeling. Hij wijst op discrepanties in uitspraken van nationale gerechten over de vraag of de bevoegde rechter zich al dan niet dient te beperken tot de goederen binnen de toeleveringsketen van de mogelijk inbreukmakende goederen dan wel, zoals de OOS rechter eerder oordeelde, zijn internationale bevoegdheid baserend op de zetel van de afnemer, ook voor vorderingen in de hele EU tegen de in een andere EULS gevestigde leverancier. Ook het uitgangspunt van de DUI rechtspraktijk dat (minstens in de bodemprocedure) vorderingen betreffende het hele grondgebied van de EU geldend kunnen worden gemaakt wordt niet in alle EULS gedeeld.
Wat betreft het afbeelden van verzoeksters gemeenschapsmodel (op de website van verweersters, als illustratie bij de geleverde toebehoren) stelt de verwijzende rechter vast dat de vraag of en zo ja onder welke omstandigheden dat geoorloofd is nog niet door het HvJEU is beantwoord. Ook rijst de vraag volgens welke criteria moet worden bepaald wat de Staat is waarin de inbreuk is begaan, hetgeen uit de Rome II-Vo niet duidelijk wordt, mede omdat het hier reclame via internet betreft die ook op andere EULS is gericht. Ten slotte vraagt de rechter zich af of zoals verzoekster verlangt op eerste verweerster aanvullend het DUI recht en op tweede aanvullend het FRA recht wordt toegepast invloed heeft op de vraag welk recht van toepassing is met het oog op de aanknopingsregels in de Rome II-Vo.

1. Kan, in het kader van een procedure inzake vorderingen betreffende een gemeenschapsmodel, de rechter van een lidstaat, wiens bevoegdheid ten aanzien van een verwerende partij uitsluitend is gebaseerd op artikel 79, lid 1, van verordening (EG) nr. 6/2002 van de Raad van 12 december 2001 betreffende gemeenschapsmodellen in samenhang met artikel 6, punt 1 van verordening (EG) nr. 44/2001 van de Raad van 22 december 2000 betreffende de rechterlijke bevoegdheid, de erkenning en de tenuitvoerlegging van beslissingen in burgerlijke en handelszaken, omdat deze in een andere lidstaat gevestigde verwerende partij mogelijkerwijs inbreukmakende goederen heeft geleverd aan de in de desbetreffende lidstaat gevestigde verwerende partij, ten aanzien van eerste verwerende partij maatregelen gelasten die voor de hele Unie gelden en die verder gaan dan de leveringsrelaties waarop zijn bevoegdheid is gebaseerd?
2. Moet verordening (EG) nr. 6/2002 van de Raad van 12 december 2001 betreffende gemeenschapsmodellen, meer bepaald artikel 20, lid 1, onder c), aldus worden uitgelegd dat een derde het gemeenschapsmodel mag afbeelden voor commerciële doeleinden wanneer hij toebehoren bij de – met het gemeenschapsmodel overeenstemmende – goederen van de houder wil verkopen? Zo ja, welke criteria gelden hiervoor?
3. Hoe moet de plaats ‘waar de inbreuk is gepleegd’ in de zin van artikel 8, lid 2, van verordening (EG) nr. 864/2007 van het Europees Parlement en de Raad van 11 juli 2007 betreffende het recht dat van toepassing is op niet-contractuele verbintenissen, worden bepaald in situaties waar de inbreukmaker de goederen die inbreuk maken op het gemeenschapsmodel:
a) via een website aanbiedt en deze website ‒ ook ‒ naar andere lidstaten dan de lidstaat waarin de inbreukmaker is gevestigd, is gericht,
b) laat verzenden naar een andere lidstaat dan diegene waarin hij is gevestigd?
Moet artikel 15, onder a) en g), van de genoemde verordening aldus worden uitgelegd dat het op die manier bepaalde recht ook kan worden toegepast op de medewerkingshandelingen van andere personen?

Niet-officiële vertaling via EULawRadar.com:

1. Can a national court – whose jurisdiction in a Community design enforcement action arises from a defendant solely on the basis of Article 79(1) Council Regulation (EC) No 6/2002 of 12 December 2001 on Community designs when read together with Article 6(1) of EU Regulation 44/2001 of 22 December 2000 on jurisdiction and the recognition and enforcement of judgments in civil matters – take measures against the first defendant which apply throughout the Union and which prevail over the supplier relationships, when an individual domiciled in another Member State has supplied potentially infringing goods to defendants in the Member State concerned?

2. Is Council Regulation (EC) No. 6/2002 on the Community design […], and Article 20 (1)(c) in particular, to be interpreted as meaning that a third party may depict the Community design for commercial purposes, when he wants to sell accessories to goods that correspond to the Community design owned by the right holder? And if so, then which criteria are applicable?

3. How is the place “in which the infringement was committed” in Article 8(2) of Regulation (EC) No. 864/2007 of the European Parliament and of the Council of 11 July 2007 on the law applicable to non-contractual obligations, to be determined in situations where the infringer of the Community design infringing goods
a) runs a website and this website is also directed not only to the Member State in which the infringer is domiciled but also to other Member States,
b) forwards to Member States other than the Member State in which he is domiciled?

Is Article 15 (a) and (g) of the Regulation to be interpreted as meaning that the choice of law is also applicable to the facilitating acts of other people?
IEF 15598

Staking van schaatshulp Bobby en Belugga in Nederland

Rechtbank Den Haag 23 december 2015, IEF 15598; ECLI:NL:RBDHA:2015:15272 (Ice World tegen Am The Experience Group)
Modellenrecht. Merkenrecht. Auteursrecht. De recthbank is bevoegd om kennis te nemen, omdat het gestelde schadebrengende feit zich in Nederland voordoet. De bevoegdheid is beperkt tot Nederland (ex 83 lid 2 GModVo, 98 lid 2 GMVo en 7 lid 2 EEX-Vo jo Auteurswet). De rechtbank gebiedt gedaagden iedere inbreuk op het Gemeenschapsmodel, het Gemeenschapsmerk en het auteursrecht van Ice World met betrekking tot schaatshulp Bobby, waaronder het gebruik van schaatshulp Belugga, in Nederland te staken en gestaakt te houden;

De rechtbank
3.1. verklaart zich onbevoegd kennis te nemen van de vorderingen onder I en II voor zover de gevorderde geboden zien op handelingen buiten Nederland;

3.2. gebiedt gedaagden ieder om binnen twee werkdagen na betekening van dit vonnis iedere inbreuk op het Gemeenschapsmodel van eiseres vermeld in de dagvaarding met betrekking tot schaatshulp Bobby, waaronder het gebruik van schaatshulp Belugga, in Nederland te staken en gestaakt te houden;

3.3. gebiedt gedaagden ieder om binnen twee werkdagen na betekening van dit vonnis iedere inbreuk op het Gemeenschapsmerk van eiseres vermeld in de dagvaarding met betrekking tot schaatshulp Bobby, waaronder het gebruik van schaatshulp Belugga ter onderscheiding van een ijsbaan, in Nederland te staken en gestaakt te houden;

3.4. gebiedt gedaagden ieder om binnen twee werkdagen na betekening van dit vonnis iedere inbreuk op de auteursrechten van eiseres vermeld in de dagvaarding met betrekking tot schaatshulp Bobby, waaronder het openbaarmaken en verveelvoudigen van schaatshulp Belugga, in Nederland te staken en gestaakt te houden;

3.5. veroordeelt gedaagden ieder afzonderlijk aan eiseres een dwangsom te betalen van € 1.000,- voor iedere dag of gedeelte van de dag dat de betrokken gedaagde in strijd handelt met het onder 3.2, en/of 3.3, en/of 3.4 genoemde gebod dan wel, naar keuze van eiseres, aan eiseres een dwangsom te betalen van € 250,- per inbreukmakend product met een maximum van € 100.000,-;

3.6. veroordeelt gedaagden in de proceskosten aan de zijde van eiseres, tot op heden begroot op € 1.539,84;

3.7.verklaart dit vonnis tot zover uitvoerbaar bij voorraad met uitzondering van het onder 3.1 bepaalde;

3.8. wijst het meer of anders gevorderde af.

IEF 15583

Emerald is niet te beschouwen als een variant op verboden Kimberly-tafel

Vzr. Rechtbank Den Haag 28 december 2015, IEF 15583; ECLI:NL:RBDHA:2015:15275 (P. tegen Eichholtz)
Uitspraak ingezonden door Ruby Nefkens, Van der Steenhoven advocaten. Gemeenschapmodellenrecht. Executie. Gedaagde is veroordeelt tot staken van Kimberly-tafels [IEF 15183]. Op de Facebookpagina, op de site van gedaagde en tijdens internationale vakbeurs Maison & Objet worden de Emerald-tafels aangeboden. Gedaagde vordert schorsing van de aangekondigde executie van dwangsommen, omdat de Emerald-tafels niet dezelfde algemene indruk wekken dan de Kimberly-tafels uit het vonnis. Het handhaven van foto’s op de Facebook-tijdlijn is niet zonder meer te beschouwen als het verbod op 'aanbieden'.

De Emerald-tafels zijn niet te beschouwen als een variant op de verboden Kimberly-tafel met slechts ondergeschikte wijzigingen. Er is een serieus debat mogelijk over de algemene indruk en bestaat er twijfel of deze onder het verbod vallen. Zo hebben de zichtbare schuin lopende buizen een duidelijk ander lijnenspel, en zijn de bodem- en bovenplaat een andere vorm. De voorzieningenrechter schorst de tenuitvoerlegging van het vonnis.

4.5. Tussen partijen staat niet langer ter discussie dat ten minste in de periode van 15 september tot en met 22 september 2015 op de website en het facebookaccount van [gedaagde] foto’s zijn getoond met daarop afbeeldingen van de Kimberly-tafels, zoals weergegeven in 2.11. Deze foto’s zijn inmiddels verwijderd. Aan Eichholtz moet worden toegegeven dat afnemers van [gedaagde] uit deze foto’s hadden kunnen afleiden dat de inbreukmakende tafels (nog) tot de collectie van [gedaagde] behoorden en naar aanleiding daarvan bij haar daarnaar hadden kunnen informeren. Anders dan Eichholtz heeft betoogd, is het handhaven van deze foto’s evenwel niet zonder meer te beschouwen als een door het verbod bestreken handeling (in de zin van “aanbieden”). Met betrekking tot de op de foto’s afgebeelde Kimberly-tafels heeft [gedaagde] onweersproken gesteld dat deze na betekening van het Vonnis niet meer in haar webshop waren opgenomen en dat zij niet waren voorzien van een vermelding van naam of prijs van de tafels. Evenmin zijn feiten of omstandigheden naar voren gebracht waaruit zou kunnen volgen dat [gedaagde] daadwerkelijk Kimberly-tafels heeft verhandeld of pogingen daartoe heeft ondernomen. Zonder bijkomende omstandigheden valt dit door Eichholtz aan [gedaagde] verweten gebruik van foto’s van de Kimberly-tafels voorshands dan ook niet aan te merken als een handeling die in strijd komt met voormeld doel en strekking van de veroordeling. Dit volgt evenmin uit de enkele omstandigheid dat in 2.7. van het Vonnis als feit is vastgesteld dat [gedaagde] afbeeldingen van de Kimberly-tafels op haar facebookpagina heeft getoond, waarbij tevens meeweegt dat de in die rechtsoverweging opgenomen foto’s andere zijn dan thans aan de orde. Voorts is van belang dat [gedaagde] onvoldoende weersproken heeft gesteld dat deze foto’s “per ongeluk” zijn blijven staan en de foto op de website onderdeel was van een carrousel van 8-12 foto’s, terwijl de facebook-foto – waarop de tafels bovendien amper te zien zijn – slechts op de zogenaamde “tijdlijn” stond. [gedaagde] heeft de foto’s ook onmiddellijk verwijderd toen Eichholtz haar op die omissie attendeerde. Een en ander leidt tot het oordeel dat een redelijk uitleg van het opgelegde inbreukverbod meebrengt dat het onder voormelde omstandigheden tijdelijk handhaven van de in 2.11 vermelde foto’s geen verbeurte van een dwangsom meebrengt, althans dat aan gerede twijfel onderhevig is dat de bodemrechter tot die conclusie zal komen. De executie van het Vonnis dient in zoverre dan ook te worden geschorst.

4.9. Naar het oordeel van de voorzieningenrechter zijn de Emerald-tafels niet te beschouwen als een variant op de verboden Kimberly-tafel met slechts ondergeschikte wijzigingen. Anders dan bij de Kimberly-tafels, waarbij dezelfde algemene indruk niet bestreden werd, is daarover bij de Emerald-tafels een serieus debat mogelijk en kan aldus in ernst worden betwijfeld of deze onder het verbod vallen. Daarbij is van belang dat de Emerald-tafels niet voldoen aan alle in 4.4. van het Vonnis (zoals geciteerd in 2.8) vermelde kenmerken a tot en met e. Kenmerkend voor de Gemeenschapsmodellen van Eichholtz is primair dat deze zijn vormgegeven op basis van een Asscher-geslepen diamant terwijl de Emerald-tafels zijn gebaseerd op de Emerald-geslepen diamant. Voor zowel de Emerald coffee als end table geldt dat zij in het onderstel (daarom) ook schuin lopende buizen hebben, wat zorgt voor een duidelijk ander lijnenspel dat goed zichtbaar is door de open structuur van de tafels. In verband daarmee is ook de bodemplaat van de tafels anders van vorm dan die van de modellen. Alle tafels hebben weliswaar een achthoekig bovenblad maar voor wat betreft de Emerald end table is het bovenblad meer rechthoekig van vorm en die van de Asscher-tafel meer vierkant. De Emerald end table is voorts iets gedrongener dan de Asscher side table van het model. In wezen is er derhalve een geheel nieuwe, afzonderlijke beoordeling nodig voor beantwoording van de vraag of de Emerald-tafels dezelfde algemene indruk wekken als de tafels van de modellen. Gelet op hetgeen is overwogen in 4.8 is de voorzieningenrechter van oordeel dat het gebruik van de Emerald-tafels dan ook niet onder de draagwijdte van het inbreukverbod valt. Dit betekent dat de executie van het Vonnis voor deze tafels dient te worden geschorst.

Lees de uitspraak (pdf/html)

IEF 15536

Fietsmand beschermd door niet-ingeschreven modelrecht

Rechtbank Den Haag 16 december 2015, IEF 15536; ECLI:NL:RBDHA:2015:14526 (Basil tegen Burgers)
Uitspraak ingestuurd door Thera Adam-van Straaten, Kneppelhout Korthals Advocaten. Niet-geregistreerd modelrecht. Vormgevingserfgoed. Zie eerder de conclusie van de AG in IEF 15426. In geschil is of de Java mand van Burgers inbreuk maakt op de Basil Denton mand van Basil. Burgers stelt dat de Basil Denton mand geen eigen karakter bezit gezien het vormgevingserfgoed. Het is niet komen vast te staan dat de levering aan de Showroom betrekking had op de Dian-mand en daarmee tot het vormgevingserfgoed behoort. De manden die wel tot het vormgevingserfgoed behoren wekken volgens de rechter allen een andere algemene indruk dan de Basil Denton. De rechter oordeelt dat de Java mand van Burgers inbreuk maakt op het niet-ingeschreven modelrecht van Basil op de Basil Denton. De zaak wordt aangehouden op het punt van de verbeurde dwangsommen in afwachting van het arrest van de HR.

2.11. De conclusie van het voorgaande is (i) dat niet is komen vast te staan dat de leve ring aan de Candlelight Showroom in 2011 betrekking had op de Dian-mand (althans de versie afgebeeld in het tussenvonnis), daarbij in het midden latend of die enkele transactie heeft geleid tot publieke beschikbaarheid in de EU, zoals door Basil bettvist, en (ii) dat de enkele (verwijzing naar de) aanduiding DR 512036 onvoldoende is om de Dian-mand een duidig te kunnen identificeren. Voor zover het door Burgers overgelegde bewijsmateriaal uitsluitend naar deze aanduiding verwijst (de stukken ad 2. tot en met ad. 7.), valt daaruit derhalve niet te concluderen dat de Dian-mand publiekelijk is getoond op de Ambiente beurs in Frankfurt.

2.20. Gezien het voorgaande is niet komen vast te staan dat de Dian-mand tot het vormgevingserfgoed is gaan behoren. Burgers heeft voor wat betreft de niet-nieuwheid van de Basil Denton overigens nog een beroep gedaan op de publieke beschikbaarheid van de Wanda Rattan mand. Niet in geschil is dat deze mand tot het vormgevingserfgoed behoort. Echter, zoals hierna zat worden overwogen, zijn de verschillen tussen de Wanda Rattan mand en de Basil Denton van dien aard dat in elk geval geen sprake is van identieke model len, mede omvattende modellen die op ondergeschikte punten verschillen. De Basil Denton is derhalve in modelrechteljk opzicht nieuw.

2.23. De manden die tot het vormgevingserfgoed behoren, dus de Dian-mand uitgezon derd, wekken naar het oordeel van de rechtbank bij het geïnformeerde publiek alle een andere algemene indruk dan de Basil Denton. Dat wordt veroorzaakt door de vele (aanzienlijke) verschillen tussen ieder van deze manden enerzijds en de Basil Denton anderzijds. De manden van het vormgevingserfgoed worden hieronder (nogmaals) afgebeeld.

2.42. Dat Burgers de Java New Looxs mand heeft ontleend of doen ontlenen aan de Basil Denton volgt naar het oordeel van de rechtbank rechtstreeks uit de bewoording van het ver zoek van Frans Burgers in zijn email van 4juni 2012 aan de producent van Burgers om dezelfde mand te maken als de Basil Denton met enkele kleine verschillen zodat deze niet precies hetzelfde is als de Basit Denton (‘to change the baskets a littie bit so that they are not exactÏy the same as Basil (vergelijk r.o. 2.5. van het tussenvonnis). De punten van over eenstemming tussen de Java en de Basil Denton zijn naar het oordeel van de rechtbank on miskenbaar het gevolg van dit ontlenen. Daarbij hanteert de rechtbank, met het hof, het cri terium dat het ‘namaken’ in de zin van artikel 19 lid 2 GModVo, geen één-op-één kopie vereist (vergelijk r.o. 4.14. van het arrest). Hoewel in cassatie de vraag naar het toepasselij ke inbreukcriterium aan de orde is, geldt naar het oordeel van de rechtbank dat gezien de feiten in deze zaak in elk geval geen sprake kan zijn van “gebruik dat voortvloeit uit onaf hankelijk scheppend werk door een ontwerper van wie redeljkerwijs mag worden aange nomen dat hij het door de rechthebbende openbaar gemaakte model niet kende” conform de tweede zin van die bepaling. Mocht de Hoge Raad tot een ander oordeel komen, dan zal dit oordeel worden heroverwogen.

2.43. De slotsom van het voorgaande is dat Burgers inbreuk heeft gemaakt op het nietingeschreven Gemeenschapsmodel van Basil ten aanzien van de Basil Denton in de zin van artikel 19 lid 1 juncto lid 2 GModVo. De vorderingen van Basil op die grondslag zijn dus in beginsel toewijsbaar, met dien verstande dat een verbod niet toewijsbaar is omdat het Ge meenschapsmodel op 30 augustus 2014 is geëxpireerd.

Lees de uitspraak (pdf/html)

IEF 15448

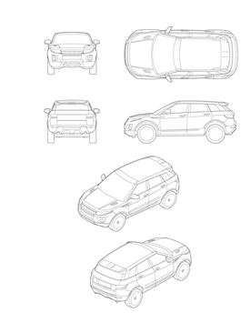
Onvoldoende onderscheidend vermogen vormmerk Range Rover Evoque

Gerecht EU 25 november 2015, IEF 15448; ECLI:EU:T:2015:878; T-629/14 (Jaguar Land Rover tegen BHIM)
Modellenrecht. Gevorderd wordt de nietigverklaring van de beslissing van de Second Board of Appeal van het OHIM. Zij bekrachtigde hiermee het besluit van de examiner om het vormmerk voor de Range Rover Evoque af te wijzen op grond van gebrek aan onderscheidend vermogen. Het Gerecht is het eens met de Second Board of Appeal dat het aangevraagde vormmerk geen onderscheidend vermogen heeft. De vordering wordt afgewezen.


31 In so far as the applicant states, in that context, that the graphic representation of the sign applied for is at least as clear and precise as those of other three-dimensional marks registered for Class 12, it should be observed, first, that it is not possible to infer, with certainty, from the existence of those registrations that OHIM in fact found that the marks covered by those registrations departed significantly from the norm or customs of the car sector and were therefore not devoid of any distinctive character for the purposes of Article 7(1)(b) of Regulation No 207/2009. As OHIM correctly contends, those marks are different from the mark applied for and, in a certain number of cases, had acquired distinctive character through use under Article 7(3) of Regulation No 207/2009.

32 Next, according to settled case-law, the legality of the decisions of Boards of Appeal, which are adopted in the exercise of circumscribed powers and are not a matter of discretion, must be assessed solely on the basis of Regulation No 207/2009, as interpreted by the Courts of the European Union, and not on the basis of OHIM’s previous decision-making practice, which, in any event, cannot bind the Courts of the European Union (judgments of 15 September 2005 in BioID v OHIM, C‑37/03 P, ECR, EU:C:2005:547, paragraph 47; 12 January 2006 inDeutsche SiSi-Werke v OHIM, C‑173/04 P, ECR, EU:C:2006:20, paragraph 48; and 30 April 2013 in Boehringer Ingelheim International vOHIM (RELY-ABLE), T‑640/11, EU:T:2013:225, paragraph 33). Moreover, for reasons of legal certainty and of sound administration, the examination of any trade mark application must be stringent and full, in order to prevent trade marks from being improperly registered. Such an examination must thus be undertaken in each individual case. The registration of a sign as a mark depends on specific criteria, which are applicable in the factual circumstances of the particular case and the purpose of which is to ascertain whether the sign at issue is caught by a ground for refusal (see, to that effect, judgments of 10 March 2011 in Agencja Wydawnicza Technopol v OHIM, C‑51/10 P, ECR, EU:C:2011:139, paragraph 77, and RELY-ABLE, cited above, EU:T:2013:225, paragraph 34). It follows that the existence of other registrations of three-dimensional marks for Class 12 does not, on its own, lead to the conclusion that the mark applied for departs significantly from the norm or customs of the sector and is, therefore, not devoid of any distinctive character for the purposes of Article 7(1)(b) of Regulation No 207/2009.

33 In the second place, the applicant claims that the Board of Appeal was wrong in stating that the terms ‘Range Rover Evoque’ or ‘Evoque’ were irrelevant in the present case. The third party commentaries produced by the applicant included images of the vehicle described (known as the ‘Range Rover Evoque’). It was therefore sufficiently certain that each review or article referred to that vehicle design and no other. In any event, the images of the ‘Range Rover Evoque’ taken from the applicant’s website and produced by it before the Court dispelled any doubt that the vehicle, the design of which is the subject of the mark applied for, is known as the ‘Range Rover Evoque’.

34 In this connection, it should be recalled that, according to the scheme of Regulation No 207/2009, the registration can take effect only on the basis of, and within the limits of, the application for registration filed by the applicant with OHIM. It follows that, when examining the distinctive character of a three-dimensional mark, OHIM must refer to the reproduction of the mark applied for attached to the application for registration and to the description, if any, included in that application. Therefore, OHIM may not take into account characteristics of the mark applied for that are not set out in the application for registration and the documents accompanying it (judgments of 30 November 2005 inAlmdudler-Limonade v OHIM (Shape of a lemonade bottle), T‑12/04, EU:T:2005:434, paragraph 42, and 22 March 2013 in Bottega Veneta International v OHIM (Shape of a bag), T‑410/10, EU:T:2013:149, paragraph 38). Since the function of the graphic representation is to define the mark, it must be self-contained, in order to determine with clarity and precision the precise subject-matter of the protection afforded by the registered trade mark to its proprietor (see, to that effect, judgment of 12 December 2002 in Sieckmann, C‑273/00, ECR, EU:C:2002:748, paragraphs 48 and 50 to 52).

35 In the present case, OHIM correctly observes that the application for registration in no way states that the shape of the car represented in the six line drawings filed for the purposes of registration is that of a car named ‘Range Rover Evoque’ or ‘Evoque’. It should also be pointed out that the application for registration concerned six line drawings and not photographs of ‘ready-made’ cars or scale models of cars.

38 In so far as the applicant relies on reviews by third parties and claims that they refer to the mark applied for, suffice it to point out that, in fact, those reviews do not concern the six line drawings filed by the applicant for the purposes of registration as a three-dimensional Community trade mark, but rather a ready-made car or photographs of such a ready-made car. It follows that the Board of Appeal did not err in not taking account of those reviews.

39 In the third place, the applicant claims that the Board of Appeal did not give adequate weight to the third party reviews of the shape of the vehicle in question. It claims that those reviews were not merely ‘indicators of attractive or high aesthetic level’, but were also indicators of features possessed by the vehicle design concerned that were considered, by independent third parties, to demonstrate an inherent level of distinctive character. In considering the impression made by the graphic representation only, and not that made by ready-made vehicles, the Board of Appeal contradicted its own approach of assessing whether the shape in question departed sufficiently from the ‘existing design field’. The applicant argues that current design trends in the automotive industry were very relevant for the assessment of distinctive character. The Board of Appeal was not entitled to exclude the impression made by ready-made cars when assessing the significance and relevance of third party reviews in relation to whether there was sufficient distinctive character.

40 In accordance with the case-law referred to in paragraph 34 above, OHIM may not take into account characteristics of the mark applied for that are not set out in the application for registration and the documents accompanying it. As stated in paragraph 35 above, the mark applied for consists of six line drawings and not photographs of ready-made cars or scale models of cars. As pointed out in paragraph 38 above, the reviews submitted by the applicant do not concern the six line drawings it filed for the purposes of registration as a Community trade mark, but rather a ready-made car or photographs of such a ready-made car.

41 It should be stated that the photographic representations produced by the applicant bring out a number of features, including the car grille and uprights, which are not visible in the six line drawings it filed for the purposes of registration as a Community trade mark. Consequently, as OHIM correctly contends, the photographic representations of the car model in question are not identical to the mark applied for.

43 In so far as the applicant complains that the Board of Appeal’s approach when assessing whether the mark applied for departed significantly from the norm or customs of the sectors concerned was contradictory in that it considered only the impression made by the graphic representations filed, and not that made by ready-made cars, it must be held that there is, in fact, no such contradiction. According to the case-law cited in paragraph 34 above, OHIM must refer to the reproduction of the mark applied for attached to the application for registration and may not take into account characteristics of the mark applied for that are not set out in the application for registration and the documents accompanying it. Consequently, the details of a graphic representation filed for the purposes of registration as a three-dimensional Community trade mark must, on their own, make it possible to determine whether the mark applied for departs significantly from the norm or customs of the sectors concerned, and is thus not devoid of any distinctive character for the purposes of Article 7(1)(b) of Regulation No 207/2009.

45 It follows that the arguments put forward by the applicant in support of its single plea in law are not capable of calling into question the Board of Appeal’s assessment that, as regards goods other than ‘vehicles for locomotion by air and water’ in Class 12, the mark at issue, rather than departing significantly from the norm or customs of the sector, is merely a variation of the typical shape of a car and is, therefore, devoid of any distinctive character for the purposes of Article 7(1)(b) of Regulation No 207/2009.

IEF 15434

AutoCAD en getuigschrift kunnen niet ontwerperschap bewijzen

Gerecht EU 18 november 2015, IEF 15434; ECLI:EU:2015:T:868; T-813/14 (Tassen voor draagbare computers)
Modellenrecht. Nietigheidsgronden. Nieuwheid. Min Liu heeft in mei 2012 een modelrecht gedeponeerd voor een houder van draagbare computers. DSN Marketing start een nietigheidprocedure bij het OHIM: het model voldoet niet aan de nieuwheidseis uit artikel 5 GModVo. De nietigheid wordt toegewezen, waartegen in beroep wordt. Het Gerecht oordeelt dat een AutoCAD ontwerpen en een getuigschrift niet voldoende kunnen bewijzen dat Min Liu de ontwerper van het model is. De uitzondering van artikel 7(2) GModVo (openbaarmaking door ontwerper gedurende tijdsvak van 12 maanden vóór aanvraag) kan dan ook niet worden ingeroepen door aanvrager. Het beroep wordt afgewezen.

24. In the present case, the Board of Appeal held that the evidence submitted by the applicant was not sufficient to prove that he is the creator of the contested design.
25. In his written pleadings, the applicant claims that it has been proven that he is indeed the creator of the contested design. In support of his contentions, he refers to two items of proof: first, AutoCAD designs (computer-aided designs) and, second, an affidavit.

26. In that regard, it must be recalled that, according to settled case-law, in order to assess the probative value of a document, it is necessary to check the plausibility and truthfulness of the information which it contains. In that regard, account must be taken of, inter alia, the origin of the document, the circumstances of its preparation and to whom it is addressed, and whether it seems from the content to be sensible and reliable (see judgment of 15 December 2005 in BIC v OHIM (Shape of a lighter), T‑262/04, ECR, EU:T:2005:463, paragraph 78 and the case-law cited).

27. In the first place, with regard to the AutoCAD designs, the Board of Appeal took the view that any person with average computer skills could change the time and date settings of a computer and therefore save a file containing AutoCAD designs with a date chosen at will. Furthermore, the Board of Appeal pointed out that the applicant had not explained why he had waited, first, until 10 February 2011 to test a design that he claimed to have created on 2 February 2010, and, second, until 13 February 2011 to commission a designer to design the packaging of that design, although the first sales had already taken place. In addition, the Board of Appeal stated that the applicant had submitted the correspondence between himself and Targus, in which the latter claims that its design was created by a design team consisting of several of its employees and a design consultant during the second half of 2010, with the product being made available on the European market in March 2011. In that context, the Board of Appeal took the view that it seemed highly unlikely that the applicant had required slightly over 18 minutes to create the contested design, as was stated in the file containing the AutoCAD designs submitted by him. The applicant has merely stated before the Court, without adducing evidence capable of proving it, that the process of the creation of the contested design had started in August 2009 and that the 12-month period between the date of creation of this design and the first sales of rotating cases corresponding to the contested design is attributable to, in particular, the manufacture of several samples and the conducting of several series of tests. He has also stated that nothing proves that the date of the AutoCAD designs was modified, without disputing the Board of Appeal’s assessment that such a modification could have been made by any person with average computer skills. Furthermore, he has not challenged any of the other evidence admitted by the Board of Appeal although it is of such a kind as to cast a doubt over the plausibility and truthfulness of the information contained in those designs.

28. In the second place, with regard to the applicant’s affidavit, it is clear that the Board of Appeal did not take account of it. In his written pleadings, the applicant contends that such an affidavit is, however, capable of corroborating the accuracy of the other documents submitted.

29. In this regard, it must be pointed out that the particulars in an affidavit made by a person linked, in any manner whatsoever, to the company relying on it must, in any event, be supported by other evidence (see judgment of 11 December 2014 in Nanu-Nana Joachim Hoepp vOHIM — Vincci Hoteles (NAMMU), T‑498/13, EU:T:2014:1065, paragraph 38 and the case-law cited). It is, however, clear, as follows from paragraph 27 above, that the applicant has not demonstrated that the Board of Appeal erred in taking the view that the AutoCAD designs created by the applicant did not make it possible to establish that he was the genuine creator of the contested design and, consequently, to corroborate the content of that affidavit.

30. It follows from the foregoing that the Board of Appeal was fully entitled to take the view that the applicant had not proved that he is the creator of the contested design. Therefore, he is not justified in relying on the provisions of Article 7(2) of Regulation No 6/2002 and, consequently, in claiming that the disclosure of the Targus and Duragadget designs for a period of 12 months preceding the date of priority did not place in question the novelty of the contested design.
IEF 15426

Verbod fietsmand met dwangsom met zelfde inhoud en strekking mag op andere rechtsgrond

Conclusie AG HR 13 november 2015, IEF 15426 (Burgers Lederwarenfabriek tegen Basil)
Conclusie ingezonden door Caspar Janssens, Caspar Janssens advocatuur en Thera Adam-van Straaten, Kneppelhout & Korthals. Niet-geregistreerd modelrecht. Dwangsommen. Beroep is ingesteld tegen het door het hof  [IEF 14060] opgelegde dwangsom met terugwerkende kracht op grond van een andere rechtsgrond.  Als het gaat om een verbod dat dezelfde inhoud en strekking heeft als het in eerste aanleg gegeven verbod en beoogd dit verbod te handhaven, op een andere rechtsgrond, dan staat dit de appelrechter vrij. Artikel 14 GModVo moet niet zo ruim worden uitgelegd dat opdrachtgevers ook rechthebbende maakt, maar in dit geval is Basil medeontwerper omdat zij de eerste schets heeft gemaakt, instructies heeft gegeven en freelancers aanpassingen op instructie van directeur van Basil hebben gedaan. Conclusie strekt tot verwerping van de cassatieberoepen.

5.1. Onderdeel 1.1. neemt tot uitgangspunt dat neit met terugwerkende kracht een dwangsom kan worden verbonden aan een veroordeling op een andere grondslag. Dit uitgangspunt is in zijn algemeenheid onjuist. Als het gaat om een verbod dat dezelfde inhoud en strekking heeft als het in eerste aanleg gegeven verbod en - zoals in dit geval - beoogd wordt dit verbod in zoverre te handhaven zij het op een andere rechtsgrond, staat dit de appelrechter vrij. Dit oordeel houdt immers in dat voor het verbod als zodanig voldoende rechtsgrond bestond, zodat het op deze andere rechtsgrond in hoger beroep is gehandhaafd. Het verbod was derhalve inhoudelijk niet onjuist, is niet gewijzigd en was terecht gegeven.

5.4. (...) Het hof heeft dit niet miskend, doch het heeft zijn oordeel dat Basil (mede)ontwerper is in de zin van artikel 14 GModVo gebaseerd op de omstandigheden dat:
i) Basil op basis van een eerste schets voro een rotan fietsmand, met daarin reeds gedetailleerde aanwijzingen omtrent maatvoering en sluiting aan de voorzijde, instructies heeft gegeven aan de freelance ontwerpers en ii) de ontwerpkeuzes en nadere aanpassingen zijn gedaan op instructie van directeur/werknemer van Basil. Het feit dat de freelance ontwerpers het eerste ontwerp verder hebben uitgewerkt, maakt naar het oordeel van het hof niet onmogelijk dat Basil als werkgeefster van directeur in ieder geval medeontwerper is van de mand; tezamen met de freelance ontwerpers, zoals artikel 14 lid 2 GModVo mogelijk maakt. Dit oordeel lijkt mij niet onjuist en niet onbegrijpelijk. Het is voorbehouden aan het hof als rechter die over de feiten oordeelt. Het oordeel vindt voldoende steun in de door Basil aangevoerde stellingen.
IEF 15385

Kranen met een hendel zijn niet identiek

Gerecht EU 29 oktober 2015, IEF 15385; ECLI:EU:T:2015:817; T-334/14 (Kraan met één hendel)
Modellenrecht. Gevorderd wordt de nietigverklaring van gemeenschapsmodelrecht voor een kraam met één hendel. Er wordt door Villeroy & Boch beroep gedaan op een ouder Gemeenschapsmodel. De kamer oordeelt dat het model niet identiek is aan het ouder model, de tekeningen vertonen voldoende verschillen van niet onbelangrijke details. Het beroep wordt verworpen.

57      La chambre de recours a, tout d’abord, relevé, au point 47 de la décision attaquée, que les dessins ou modèles en conflit avaient de nombreux éléments très similaires, à savoir, leur structure générale, des lignes simples et essentielles, la présence d’une manette en forme de levier plus courte que le tuyau et parallèle à celui-ci, la présence d’un tuyau et d’une colonne perpendiculaires l’un à l’autre, la présence d’un actionneur arrière destiné à stopper l’évacuation de l’eau, ainsi que la disposition de chacun desdits éléments dans des positions similaires et l’importante ressemblance de ceux-ci. Ensuite, elle a précisé, au point 49 de la décision attaquée, que les éléments communs ou ressemblants des dessins ou modèles en conflit étaient très importants et très visibles, de sorte qu’ils attireront l’attention de l’utilisateur averti. En outre, elle a estimé, au point 50 de la décision attaquée, que le dessin ou modèle contesté contenait des légères différences par rapport au dessin ou modèle antérieur, lesquelles étaient nettement moins évidentes que l’impression d’ensemble qui se dégageait des nombreux éléments très similaires, lesquels produisaient sur l’utilisateur averti une impression globale « très similaire ». Enfin, elle a conclu, audit point 50, que les différences existant entre les dessins ou modèles en conflit ne pouvaient être considérées comme étant suffisantes pour estimer que le dessin ou modèle contesté produise sur l’utilisateur averti une impression globale différente de celle produite par le dessin ou modèle antérieur.
76      Dans ce contexte, le fait que, dans ledit point 50, la chambre de recours ait affirmé que « [l]es différences mentionnées n’affect[ai]ent pas significativement l’impression d’ensemble similaire qui se dégage[ait] des dessins », s’écartant ainsi du libellé de la règle contenue à l’article 6, paragraphe 1, du règlement n° 6/2002, qui n’évoque pas l’idée de similitude et qui exige, pour apprécier le caractère individuel, que le dessin ou modèle en cause produise une impression globale différente, ne saurait avoir de conséquences sur la légalité de la décision attaquée. En effet, comme il résulte des points 49 et 50 de la décision attaquée, celle-ci a conclu de manière non équivoque que, eu égard aux coïncidences existant entre les dessins ou modèles en conflit par rapport à leurs éléments les plus visibles et les plus importants, les différences existant entre les dessins ou modèles en conflit n’étaient pas suffisantes pour que le dessin ou modèle contesté produise une impression globale différente (voir point 57 ci-dessus).

77      Cette conclusion ne saurait être infirmée par l’argument de la requérante selon lequel, dans la mesure où les dessins ou modèles seront perçus en trois dimensions par l’utilisateur averti, il conviendrait de comparer les dessins ou modèles en conflit en tenant compte des photographies des deux robinets à commande unique pour lavabo.

78      À cet égard, il convient de relever que, conformément à la jurisprudence, la comparaison des impressions globales produites par les dessins ou modèles doit porter sur les dessins ou modèles tels qu’enregistrés, sans qu’il puisse être exigé du demandeur en nullité une représentation graphique du dessin ou modèle invoqué, comparable à la représentation figurant dans la demande d’enregistrement du dessin ou modèle contesté. Toutefois, il n’est pas erroné de prendre en compte, à titre d’illustration, lors de ladite comparaison, les produits effectivement commercialisés et correspondant à ces dessins ou modèles tels qu’enregistrés (voir arrêt Félin bondissant, point 16 supra, EU:T:2013:584, point 30 et jurisprudence citée).
IEF 15346

Hogere voorziening: De onjuiste toepassing van 'betrokken sector' in het modellenrecht

Hogere voorziening ingesteld bij HvJ EU 11 juli 2015, IEF 15346; zaak C-361/15P (Easy Sanitairy Solutions - Doucheafvoergoot)
Modellenrecht. De "betrokken sector" is niet beperkt tot die van de sector van het voortbrengsel van het model. De middelen en voornaamste argumenten tegen arrest van Gerecht EU [IEF 14958]:

Middel 1, Onderdeel a): Het Gerecht heeft artikel 25, lid 1, sub b), juncto artikel 7, lid 1, van verordening nr. 6/20021 geschonden door te overwegen en beslissen dat een ouder model dat is verwerkt in of toegepast op een ander voortbrengsel dan dat waarop een later model betrekking heeft, in beginsel relevant is voor de beoordeling van de nieuwheid, in de zin van artikel 5 van verordening nr. 6/2002, van dit latere model en dat de formulering van laatstgenoemd artikel zou uitsluiten dat een model als nieuw kan worden beschouwd wanneer een identiek model eerder voor het publiek beschikbaar is gesteld, ongeacht het voortbrengsel waarin dat oudere model is verwerkt of waarop het is toegepast. Het oordeel van het Gerecht dat de "betrokken sector" in de zin van artikel 7, lid 1, van verordening nr. 6/2002 niet beperkt is tot die van het voortbrengsel waarin het litigieuze model zal worden verwerkt of waarop dit zal worden toegepast, is rechtens onjuist.

 

Onderdeel b): Het Gerecht heeft de artikelen 25, lid 1, onder b), juncto artikel 5 van verordening nr. 6/2002 geschonden door te overwegen en beslissen dat een gemeenschapsmodel niet als nieuw kan worden beschouwd in de zin van artikel 5, lid 1, van verordening nr. 6/2002 indien een identiek model voor het publiek beschikbaar is gesteld vóór de in die bepaling gestelde data, ook al zou dit oudere model worden verwerkt in of toegepast op een ander voortbrengsel dan het voortbrengsel of de voortbrengselen die uit hoofde van artikel 36, lid 2, van verordening nr. 6/2002 in de aanvrage zijn opgegeven.
Onderdeel c): Het Gerecht heeft artikel 10, artikel 19 en artikel 36, lid 6, van verordening nr. 6/2002 geschonden door te oordelen dat deze artikelen met zich brengen dat de houder van een ingeschreven modelrecht derden kan beletten het model waarvan hij houder is alsmede elk model dat bij de geïnformeerde gebruiker geen andere algemene indruk wekt zonder diens toestemming te gebruiken in alle types voortbrengselen.
Middel 2: Het Gerecht heeft door te overwegen zoals het heeft gedaan in de laatste zin van punt 137 van zijn beslissing de grenzen van de rechtmatigheidstoetsing overschreden en heeft aldus artikel 61 van verordening nr. 6/2002 geschonden.
IEF 15276

Geen bewijs openbaarmaking eerder model Blompot

OHIM 16 september 2015, IEF 15276 (Desch tegen Blom)
Uitspraak ingezonden door Bert Gravendeel, Gravendeel advocaten.
Vergelijk met IEF 13524. Gemeenschapsmodel. Desch vordert de nietigverklaring van twee geregistreerde gemeenschapsmodellen (Blompot) op grond van slaafse nabootsing van zijn eerder model. De bewijslast van algemene publicatie van een model is voor de eiser. Desch heeft niet kunnen bewijzen dat zijn model reeds openbaar was gemaakt waardoor de eis van nietigheidsverklaring wordt afgewezen.

(16) The Invalidity Division will carry out an overall assessment of such evidence by taking account of all the relevant factors in the particular case. Disclosure cannot be proven by means of probabilities or suppositions, but must be demonstrated by solid and objective evidence of effective and sufficient disclosure of the earlier design.
(26) To sum up, there is no evidence to prove that a prior design was made available to the public within the meaning of Article 7(1) CDR prior to the date of filing of the contested RCD. Specifically, even if the catalogues display the pots, which are also mentioned in the sale figures, there is no additional evidence to confirm the disclosure. To establish disclosure on the basis of these two pieces of evidence without confirmation by additional independent documents would amount to a guess hazarding. The Office must ground its evaluation of the evidence on the procedural truth and in the case at issue it is impossible to establish truthfully or at least with a reasonable certainty that the prior design was disclosed. The burden of proof when disclosure is involved is on the applicant and in this case the applicant did not back up its claim with enough evidence.